| |
 |
|
|
 |
 |
| |
 |
| |
|
| 直拨电话: |
0533—2887361 |
| |
0533—2887362 |
| 脱硫、脱销: |
18853331566 |
| 煤气发生炉: |
13665330789 |
| 传 真: |
0533—2887362 |
| QQ: |
704016330 |
| 联系地址: |
山东省淄博市张店区柳泉路13号 |
| |
| |
|
|
|
| |
 |
| 单段式煤气发生炉 >> 单段式煤气发生炉配件 >> 窑炉、干燥塔90mm-250mm热煤气烧嘴 |
 |
| |
|
产品编号: |
981730816 |
产品名称: |
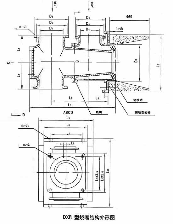
窑炉、干燥塔90mm-250mm热煤气烧嘴 |
规 格: |
|
产品备注: |
|
产品类别: |
单段式煤气发生炉 |
| |
|
产 品 说 明 |
| 窑炉、干燥塔90mm-250mm热煤气烧嘴
热煤气烧嘴以未经清洗的热脏发生炉煤气为燃料。助燃空气以多流股旋向喷出与煤气混合,空气煤气混合均匀,故火焰较短,容易获得高温燃烧区。由于空气压力比煤气压力高,空气高速喷出时能将煤气按比例吸入,故具有一定的自动调节能力。

 |
|
 |
| 点击数:728 录入时间:2008/9/7 【打印此页】 【关闭】 |
|
|
| |
|
|